Product Overview of Clamp Connection Double Disc Swing Check Valve H76H/W:
Product model: H76H/W
Nominal diameter: NPS 2" ~ 60", DN50 ~ 1500mm
Pressure range: Class150 ~ 600LB, PN10 ~ 100Mpa
Operating temperature: -29℃ ~ +425℃
Main material: carbon steel, stainless steel, alloy steel
Design standard: API6D, JB/T8937, API594
Structure length: API594, JB/T8937
Connection standard: ASME B16.5, GB/T 9113, JB/T 79, HG/T 20592
Pressure test: API 598, GB/T 13927, JB/T 9092
Pressure-temperature rating: ASME B16.34, GB/T12224
Product Details of Clamp Connection Double Disc Swing Check Valve H76H/W:
Main Features of Clamp Connection Double Disc Swing Check Valve H76H/W:
1, the product structure of short length, small size, light weight.
2, the sealing flap can be selected according to different working conditions, soft sealing or hard sealing material, good sealing performance.
3, horizontal or vertical pipe can be used, easy to install.
4, the valve closed quickly, water hammer pressure is small.
5, the material of parts and the valve end face form, size according to the actual conditions or user requirements reasonable matching, to meet the needs of various projects.
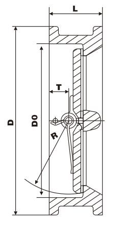
Main Dimensions of Clamp Connection Double Disc Swing Check Valve H76H/W:

| PN | caliber | Size (mm) | Weight (kg) | Piping flange (for reference) | |||||||||
| NPS | DN | L | D | D 3 | D 2 | Bolt hole center circle diameter D 1 | Number of bolts | Bolt diameter d | Bolt length L 1 | ||||
| in | mm | RF | RJ | ||||||||||
| Class 150 PN2.0MPa | 2 | 50 | 60 | 103 | 56 | 51 | 2 | 120.5 | 4 | 5/8 | M16 | 140 | 155 |
| 2 1/2 | 65 | 67 | 122 | 73 | 65 | 3 | 139.5 | 4 | 5/8 | M16 | 150 | 165 | |
| 3 | 80 | 73 | 135 | 88 | 80 | 4 | 152.5 | 4 | 5/8 | M16 | 160 | 175 | |
| 4 | 100 | 73 | 173 | 108 | 102 | 6 | 190.5 | 8 | 5/8 | M16 | 170 | 185 | |
| 5 | 125 | 86 | 195 | 132 | 127 | 8 | 216.0 | 8 | 3/4 | M20 | 190 | 205 | |
| 6 | 150 | 98 | 220 | 160 | 152 | 13 | 241.5 | 8 | 3/4 | M20 | 205 | 220 | |
| 8 | 200 | 127 | 277 | 210 | 203 | 25 | 298.5 | 8 | 3/4 | M20 | 240 | 255 | |
| 10 | 250 | 146 | 337 | 266 | 254 | 39 | 362.0 | 12 | 7/8 | M24 | 270 | 285 | |
| 12 | 300 | 181 | 407 | 310 | 305 | 54 | 432.0 | 12 | 7/8 | M24 | 310 | 325 | |
| 14 | 350 | 184 | 448 | 355 | 350 | 80 | 476.0 | 12 | 1 | M27 | 325 | 340 | |
| 16 | 400 | 191 | 512 | 405 | 400 | 117 | 540.0 | 16 | 1 | M27 | 340 | 355 | |
| 18 | 450 | 203 | 547 | 455 | 450 | 138 | 578.0 | 16 | 1 1/8 | M30 | 365 | 380 | |
| 20 | 500 | 219 | 604 | 505 | 500 | 163 | 635.0 | 20 | 1 1/8 | M30 | 385 | 400 | |
| 24 | 600 | 222 | 715 | 605 | 600 | 331 | 749.5 | 20 | 1 1/4 | M33 | 405 | 420 | |
| 28 | 700 | 305 | 773 | 700 | 700 | 380 | 795.5 | 40 | 3/4 | M20 | 455 | - | |
| 30 | 750 | 305 | 824 | 750 | 746 | 425 | 846.0 | 44 | 3/4 | M20 | 455 | - | |
| 32 | 800 | 305 | 878 | 800 | 796 | 560 | 900.0 | 48 | 3/4 | M20 | 460 | - | |
| 36 | 900 | 368 | 983 | 910 | 898 | 640 | 1009.5 | 44 | 7/8 | M24 | 540 | - | |
| 42 | 1050 | 432 | 1142 | 1055 | 1050 | 960 | 1171.5 | 48 | 1 | M27 | 625 | - | |
| 48 | 1200 | 524 | 1302 | 1205 | 1200 | 1400 | 1335.0 | 44 | 1 1/8 | M30 | 740 | - | |
| Class 300 PN5.0MPa | 2 | 50 | 60 | 110 | 58 | 51 | 3 | 127.0 | 8 | 5/8 | M16 | 155 | 175 |
| 2 1/2 | 65 | 67 | 128 | 73 | 65 | 4 | 149.0 | 8 | 3/4 | M20 | 175 | 195 | |
| 3 | 80 | 73 | 147 | 88 | 80 | 6 | 168.5 | 8 | 3/4 | M20 | 190 | 210 | |
| 4 | 100 | 73 | 179 | 108 | 102 | 8 | 200.0 | 8 | 3/4 | M20 | 195 | 215 | |
| 5 | 125 | 86 | 214 | 132 | 127 | 15 | 235.0 | 8 | 3/4 | M20 | 215 | 235 | |
| 6 | 150 | 98 | 249 | 160 | 152 | 18 | 270.0 | 12 | 3/4 | M20 | 230 | 250 | |
| 8 | 200 | 127 | 305 | 210 | 203 | 31 | 330.0 | 12 | 7/8 | M24 | 280 | 300 | |
| 10 | 250 | 146 | 359 | 266 | 254 | 51 | 387.5 | 16 | 1 | M27 | 315 | 335 | |
| 12 | 300 | 181 | 420 | 310 | 305 | 77 | 451.0 | 16 | 1 1/8 | M30 | 365 | 385 | |
| 14 | 350 | 222 | 483 | 355 | 350 | 117 | 514.5 | 20 | 1 1/8 | M30 | 410 | 430 | |
| 16 | 400 | 232 | 537 | 405 | 400 | 190 | 571.5 | 20 | 1 1/4 | M33 | 435 | 455 | |
| 18 | 450 | 264 | 594 | 455 | 450 | 200 | 628.5 | 24 | 1 1/4 | M33 | 475 | 535 | |
| 20 | 500 | 292 | 652 | 505 | 500 | 265 | 686.0 | 24 | 1 1/4 | M33 | 510 | 585 | |
| 24 | 600 | 318 | 772 | 608 | 600 | 410 | 813.0 | 24 | 1 1/2 | M39 | 560 | - | |
| 30 | 750 | 368 | 882 | 740 | 735 | 660 | 921.0 | 36 | 1 3/8 | M36 | 650 | - | |
| 36 | 900 | 483 | 1044 | 880 | 873 | 1020 | 1089.0 | 32 | 1 5/8 | M42 | 800 | - | |
| 42 | 1050 | 568 | 1196 | 1045 | 1035 | 1540 | 1244.5 | 36 | 1 3/4 | M45 | 920 | - | |
| 48 | 1200 | 629 | 1365 | 1190 | 1179 | 2260 | 1416.0 | 40 | 1 7/8 | M48 | 1010 | - | |